At Axiom Structures, we approach every project with precision and a commitment to excellence. One of our recent projects involved installing helical pier installation, a deep foundation solution that stabilizes structures by anchoring them securely into the ground. This method is commonly used for new foundation installations and repairs, ensuring long-term stability. Here’s a behind the scenes look at how our team tackled this complex installation for a homeowner looking to expand their living space.
The Challenge: Expanding an Opening with Structural Adjustments
The homeowner wanted to enlarge an opening in their property, which required significant structural modifications. Our team designed a solution that involved installing a steel C channel to create a new beam. To support this beam, we placed two steel columns designed to carry both the beam’s weight and the additional load transferred from the removed columns.

Step One: Assessing the Existing Beam
During our inspection, we discovered minor damage to an existing beam. Our engineers carefully evaluated whether this would impact the project’s integrity. Fortunately, with the steel C channel securely bolted onto the beam, we determined that the structure remained sound and could safely support the intended modifications.
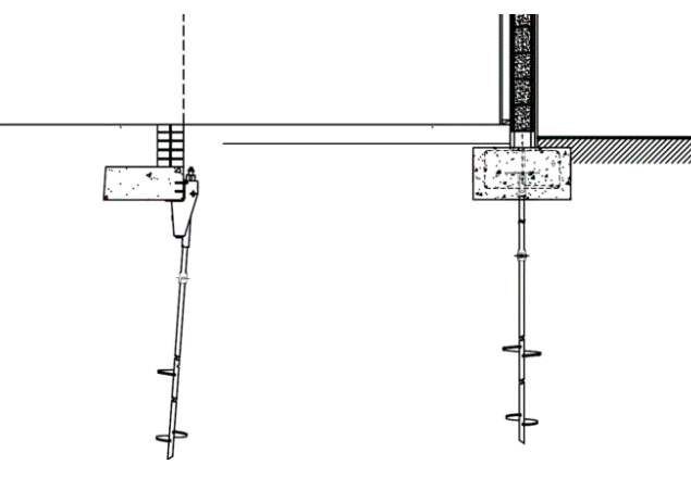
Step Two: Preparing for Helical Pier Installation
Before installing the helical pier, we assessed the concrete slab where it would be placed. We noticed that the slab hadn’t been cut precisely to plan, which posed a challenge. The client requested an adjustment to install the pier at an angle. After consulting a foundation engineer and securing certification for the modification, we moved forward with the revised approach, ensuring everything met safety and engineering standards.

Step Three: Installing the Helical Pier
With the adjustments approved, we proceeded with the installation. Helical piers are drilled deep into the ground, providing unparalleled stability in areas where traditional foundations might struggle. Our team carefully monitored the process, ensuring precise placement and secure attachment. Once the pier was fully installed, it provided a strong, reliable foundation for the structural modifications.

Next Steps: Finalizing the Project
With the helical pier successfully in place, the next steps will involve pouring concrete onto the foundation, completing the structural reinforcements, and preparing the site for the homeowner’s vision to come to life. These final steps ensure that the structure remains secure and meets all engineering standards.
Why Helical Piers Are a Smart Choice
Helical piers are a game-changing foundation solution for both new construction and foundation repair. They are particularly effective in areas with unstable soil, providing unmatched support and preventing future settlement issues. Their quick installation process, durability, and ability to bear heavy loads make them a top choice for residential and commercial projects alike.
Want to learn more about Helical Piers? Check out this article for some further background.
Build with Confidence—Work with Axiom Structures
At Axiom Structures, we specialize in advanced foundation solutions designed for safety, durability, and efficiency. Whether you’re expanding a home, reinforcing an existing structure, or planning a new build, our expert team is here to help.
Have a project in mind? Contact us today to learn how we can support your foundation needs with innovative engineering solutions!
